分享到:
新闻
人物
科技
数据分析
|
厨房
热水
净水
手机
集成灶
|
厨房小电
企业动态
特别策划
白色家电
原创
图集
评测
电子杂志
|
空调
冰箱
家居
彩电
洗衣机
|
网红家电
行业数据
智能家居
数码电器
业界动态数码家电
首页
>
新闻
> 业界动态数码家电
来自:潮流家电网 发布日期:2020-9-18
苹果AirPods独占全球真无线耳机35
近日,市场调研机构CounterpointResearch近日发布《2020年Q2全球真无线耳机市场跟踪报告》。调查报告显示,Q2苹果独占35%,依旧是全球第,而小米以10%的占比位列第二。
来自:潮流家电网 发布日期:2020-9-18
京东发布《京东2020冰洗白皮书》,高端
潮流家电网获悉,9月16日,京东在北京召开了冰洗行业峰会,会上,京东正式发布了《京东2020冰洗白皮书》。
来自:潮流家电网 发布日期:2020-9-18
美的成为全球灯塔网络的新成员,展现应用新
日前,凭借在第四次工业革命技术应用上表现出的卓越力,美的集团位于广州南沙的家用空调工厂入选成为世界经济论坛(WEF)新的“灯塔工厂”。
来自:潮流家电网 发布日期:2020-9-17
索尼PS5发布:即使降消费,而我依旧很贵
在2020年9月17日北京时间凌晨4点,索尼举行了PlayStation5的发布会。
来自:潮流家电网 发布日期:2020-9-17
天猫携手易居卖房,双11正式亮相
9月16日,阿里天猫宣布正式成立房产部门,与合作伙伴易居联合推出“天猫好房”,并共同发布“不动产交易协作机制”(ETC)。这机制被称为不动产交易协作的高速公路。
来自:潮流家电网 发布日期:2020-9-17
“羽荣光”全球发 长虹·美菱体育营销露峥
9月16日,长虹·美菱与中家羽毛球队的战略合作仪式在线上成功举行。
来自:潮流家电网 发布日期:2020-9-17
助阵硬核发布,长虹.美菱羽荣光系列全球上
在9月16日的长虹.美菱与家羽毛球队的战略合作签约现场,荣光系列新品的发俨然变成羽毛球的对打比赛。
来自:潮流家电网 发布日期:2020-9-17
Apple Watch Series 6
AppleWatch则不再附送充电器,只附送磁性充电线。
来自:潮流家电网 发布日期:2020-9-17
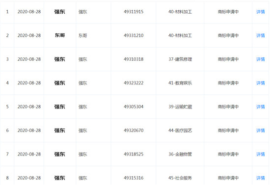
京东申请多个"强东"商标
天眼查APP显示,在8月28日,北京京东世纪贸易有限公司申请了多条商标信息,其中8个“强东”和个“东哥”,商标状态均显示为“商标申请中”。
来自:百姓家电网 发布日期:2020-9-17
家电行业正经历变数,大家电集体滑坡,小家
家电行业素有经济晴雨表之称,在疫情之下,家电行业也呈现疲态。
共1159条记录
105
页/共
116
页
首页
上一页
下一页
尾页
相关新闻
>>更多
·TCL:业绩高增源于多板块协同,近
·华为全场景亮相AWE 2026:华
·27.9mm迄今最薄!创维壁纸电视
·鸿蒙世界,日新月异:华为鸿蒙智家“
·售价4599元起,苹果推出全新的笔
·苹果推出iPhone17e,售价4
·完胜竞争对手,影石创新CEO刘靖康
·2026年小米已累计回购约1.11
数据报告
>>更多
·2025年厨电市场会下滑多少?
·2024年热水器市场分析:多技术融
·2025年集成灶市场预测:零售规模
·2024年国内洗衣机市场总结:国补
·2024年厨电市场分析报告:“国补
·2024年集成灶市场分析报告:市场
·净水市场:把握市场机会,协同共赢发
·2024年品需厨电市场三季度报:以
导购评测
>>更多
多个家电品牌宣布,4月起
近期,海信、海尔、美的、西门子、TCL、松下、容声、方
宇树科技具身智能体验馆亚
创维数字2025年营收8
灵感智烹,黑曜新生 博世
近日,2026中国家电及消费电子博览会(以下简称AWE
影像
>>更多
浙燃厨协会2025年
AWE2024之烟灶
AWE2024之小家
AWE2024之热水
友情链接:
家电网
|
口碑家电网
|
智电网
|
第一家电网
|
蓝科技
|
家电维修
|
家电资讯网
首页
|
新闻
|
潮流观察
|
人物
|
评测
|
企业
|
数据
|
影像
|
营销案例
copyright©2012-2023 Tencent All Rights Reserved
苏ICP备2023035521号
联系电话:18661113263