分享到:
新闻
人物
科技
数据分析
|
厨房
热水
净水
手机
集成灶
|
厨房小电
企业动态
特别策划
白色家电
原创
图集
评测
电子杂志
|
空调
冰箱
家居
彩电
洗衣机
|
网红家电
行业数据
智能家居
数码电器
业界动态数码家电
首页
>
新闻
> 业界动态数码家电
来自:潮流家电网 发布日期:2021-1-21
拼多多关联公司申请拼多多支付商标 支付之
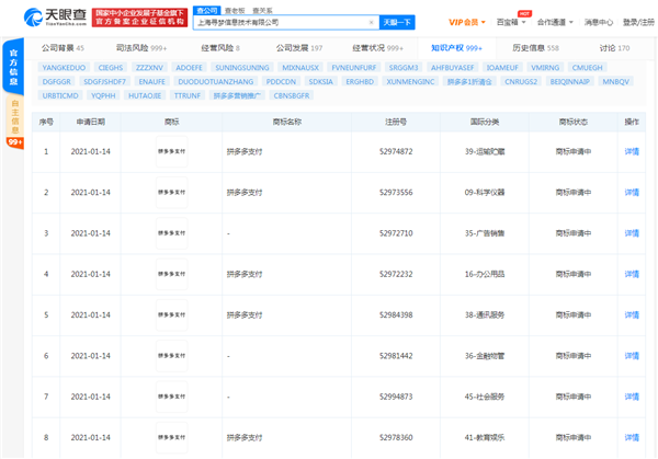
天眼查App显示,拼多多关联公司上海寻梦信息技术有限公司新增项“拼多多支付”商标申请信息,际分类涉及35-广告销售,商标状态显示为“商标申请中”。
来自:潮流家电网 发布日期:2021-1-21
苹果为满足iPhone 12 Pro系列
据外媒报道,为了给iPhone12Pro系列让路,苹果降低了iPhone12mini的产量,将200万台的产能从iPhone12mini切换到了iPhone12Pro。
来自:潮流家电网 发布日期:2021-1-21
美的洗碗机竟是Z世代新宠?给这波智能神操
小资生活的Loft单身公寓厨房面积普遍偏小,台面也较窄,但又想入手个洗碗机?选择美的初见洗碗机UP,释放更多厨房空间,告别沉闷单调,“刷新”冬季厨房!
来自:慧聪家电网 发布日期:2021-1-21
海信电视成为2021央视春晚8K直播独家
距牛年春晚直播还有23天,据中央广播电视总台透露,2021年春晚将开展8K制作,除夕之夜将直播2021年8K春晚,这也是历史上次采用8K直播的春晚。
来自:百姓家电网 发布日期:2021-1-21
Mini LED电视已成电视行业新燃点,
创新显示技术是彩电行业发展的驱动力,每次技术的更替就是彩电行业的迭代史。
来自:潮流家电网 发布日期:2021-1-20
苏宁易购消毒柜搜索增长超300%,年货节
近日随着疫情反弹,健康过年成为全民大的心愿,消毒柜等健康厨电的消费需求直线攀升,苏宁易购近日消毒柜搜索量同比增长已超过300%。
来自:潮流家电网 发布日期:2021-1-20
就地过年,苏宁易购端出“八宝粥”
全民防疫,就地过年。
来自:慧聪家电网 发布日期:2021-1-19
TCL电子第四季度业绩:电视销量661万
TCL电子发布电视机销售量数据报告,从报告中可以清晰看出,TCL在2020年全球疫情的冲击下,凭借全球产能布局以及垂直产业链优势,在海外市场强势增长、内市场逆势飘红、互联网业务呈现激增,经营业绩亮点突
来自:百姓家电网 发布日期:2021-1-19
宁夏是如何释放5亿元家电消费潜力的?
家相关部门,都在积给出政策,推动内消费市场形成内循环环境,而家电市场作为消费市场的重要组成部分,自然也得到了相关政策。
来自:潮流家电网 发布日期:2021-1-18
夏普8K显示技术解析:超高像素之外 四项
电视领域,是另个江湖。
共1160条记录
80
页/共
116
页
首页
上一页
下一页
尾页
相关新闻
>>更多
·苹果首款折叠屏手机预计2026 年
·TCL:业绩高增源于多板块协同,近
·华为全场景亮相AWE 2026:华
·27.9mm迄今最薄!创维壁纸电视
·鸿蒙世界,日新月异:华为鸿蒙智家“
·售价4599元起,苹果推出全新的笔
·苹果推出iPhone17e,售价4
·完胜竞争对手,影石创新CEO刘靖康
数据报告
>>更多
·2025年厨电市场会下滑多少?
·2024年热水器市场分析:多技术融
·2025年集成灶市场预测:零售规模
·2024年国内洗衣机市场总结:国补
·2024年厨电市场分析报告:“国补
·2024年集成灶市场分析报告:市场
·净水市场:把握市场机会,协同共赢发
·2024年品需厨电市场三季度报:以
导购评测
>>更多
莱克电气转让子全资公司9
将全资子公司苏州金莱克精密机械有限公司90%股权转让给
多个家电品牌宣布,4月起
近期,海信、海尔、美的、西门子、TCL、松下、容声、方
宇树科技具身智能体验馆亚
创维数字2025年营收8
影像
>>更多
浙燃厨协会2025年
AWE2024之烟灶
AWE2024之小家
AWE2024之热水
友情链接: |
口碑家电网
|
智电网
|
第一家电网
|
蓝科技
|
家电维修
首页
|
新闻
|
潮流观察
|
人物
|
评测
|
企业
|
数据
|
影像
|
营销案例
copyright©2012-2023 Tencent All Rights Reserved
苏ICP备2023035521号
联系电话:18661113263