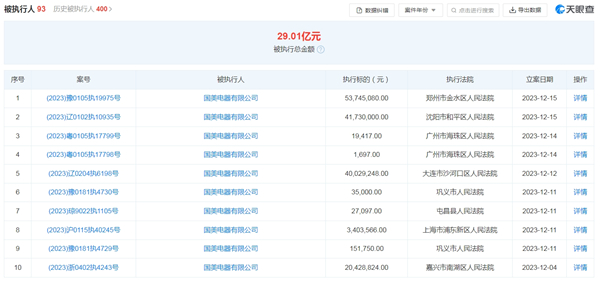
12月18日,据天眼查App显示,12月15日,国美电器有限公司新增2条被执行人信息,执行标的合计9547万余元,两案件被执行人还分别包括河南永乐生活电器有限公司、沈阳国美电器有限公司,案由为金融借款合同纠纷等,执行法院分别为郑州市金水区人民法院、沈阳市和平区人民法院。

2020年6月24日,黄光裕获得假释。自此,国美开始自救,大力推广“真快乐”App,升级安迅物流,还推出了“折上折”App、“打扮家”App等自己的APP,很显然,都没有获得良好的回馈,今年1月,“真快乐”APP改回“国美”APP,打扮家、折上折也销声匿迹。
涉水直播,也是反应平平,今年的“818首届国美电器直播节”期间,国美APP直播间平均销售额383.2万元,平均观看人次仅约6万;国美抖音相关账号的粉丝量则在2000-25000左右不等;快手的国美官方旗舰店的粉丝数刚刚突破5000。
最新的动向是国美要开超市,据国美零售解释,拟开展的超市业务并非集团总部业务,而是由黄光裕及其关联方与独立第三方合作经营。不过不排除未来探索零售新项目机会的可能性。
很显然,这无疑是一种曲线救国,但是穷途末路的国美似乎撑不了多久了……
【潮流家电网版权声明】:本网站注明转载的内容均来源于互联网,转载的目的在于传递更多信息及用于网络分享,并不代表本站赞同其观点和对其真实性负责,也不构成任何其他建议。如果您发现网站上有侵犯您的知识产权的作品,欢迎提供相关证据,发送邮件至731801816@qq.com,我们会及时修改或删除。
未经正式授权严禁转载本文,侵权必究。

